Ceux qui lisent régulièrement Endurotribe le savent : le duel entre les nippons Shimano et les « germano »-américains SRAM est des plus haletants ces dernières années, en matière de transmission. Il y a quelques temps, par une approche technico-marketing novatrice, les seconds annonçaient la fin de vie du dérailleur avant dans une mise en scène somme toute provocatrice. Message à Shimano : vous qui restez accrochés à votre dérailleur avant, êtes d’un ancien temps…
Dans ce registre, il se pourrait bien que la réponse du berger à la bergère ne manque pas de piquant. Il y a peu, nos confrères anglophones de Bikeradar ont exhumé un brevet conçu en 2017, et déposé début 2019 par Shimano, portant sur un concept de transmission intégrée… Donc de boîte de vitesses Shimano ! Sur quoi porte ce brevet ? Que signifie-t-il pour l’avenir du dérailleur ? Est-on à l’aube d’un nouveau progrès technologique majeur ?! Endurotribe a décortiqué le document et ce que l’on peut y lire entre les lignes…
Temps de lecture estimé : 9 minutes – Photos : Illustrations du brevet US20190011037A1
Au sommaire de cet article :
- Premier objet du brevet… La lubrification !
- Second objet… La chaîne !
- Troisième objet… L’étagement !
- Tout ça, c’est bien beau…
- La suite ?!
- Qu’en penser ?!
Premier objet du brevet… La lubrification !
Ceux d’entre nous qui s’aventureront à lire en détail le brevet dont il est question remarqueront une chose : nul part, il est question d’une boîte de vitesses. Les auteurs du document préfèrent utiliser les termes d’éléments glissants et transmission interne. À l’heure des moteurs de recherche, on peut y voir une habille volonté de camoufler les travaux en cours.
Mais une approche plus technique permet de mieux saisir la stratégie des Nippons. N’oublions pas qu’il s’agit d’un brevet, dont l’objectif est de verrouiller autant que faire ce peu, les possibilités offertes à la concurrence de copier le concept. Et en la matière, le premier tiers des propos du brevet portent bel et bien sur la lubrification. Alors, pourquoi ?!
« Logique que Shimano commence par la lubrification… »
Tout bonnement parce qu’il s’agit d’une des clés de la miniaturisation. D’une manière générale, faire entrer une transmission dans une boîte est une chose. C’est ce que Honda avait fait fut un temps… Rendre cette boîte la plus petite possible pour augmenter ses chances d’être adoptée par l’Industrie en est une autre. Plus les pièces sont petites : plus les efforts, les pressions de contact et les contraintes au sein de la matière augmentent.
S’assurer que le concept soit durable et résistant est alors la première contrainte à laquelle tout concepteur fait face. Logique donc que Shimano commence par déposer un brevet sur ses travaux en matière de contact entre surfaces et lubrification. Ici : les acides qui composent le lubrifiant, la dureté et les traitements de surface qui permettent l’adhérence ce dernier. Et un propos sur le rodage des surfaces…
Second objet… La chaîne !
Ce n’est qu’après ce préambule que le brevet décrit plus en détail le concept de transmission intégrée, ou boîte de vitesses Shimano. Et le second objet de ce brevet passerait presque inaperçu tant il semble évident : ces travaux portent sur l’usage de chaînes de vélo, telles qu’on les connait, ou presque. Après tout, des boîtes de vitesses, il en existe déjà sur le marché. Pinion, Effigear, Rolhoff, Nexus… Sans entrer dans les nuances de chacune, toutes utilisent un concept proche : celui d’engrenages pour transmettre la puissance.
Sauf qu’en matière de transmission, notamment à faible vitesse et pour les couples qui nous concernent : il n’y a pas meilleur rendement et souplesse d’usage qu’une chaîne de vélo. C’est d’ailleurs un des arguments qui a si longtemps fait durer les transmissions à dérailleur(s) telles qu’on les connait jusqu’à présent. Shimano semble y tenir et a une certaine expérience en la matière, on retrouve donc logiquement un système à chaîne(s) à l’intérieur de la boite en question…
Troisième objet… L’étagement !
Reste que mettre un dérailleur dans une boite, Honda l’a déjà fait, sans succès à grande échelle. Dans ce cas, on se heurte à un des principes de base de la transmission par chaîne. Lorsque l’on passe d’un pignon à l’autre, il faut rattraper la longueur de chaîne différente induite par les différences de diamètres des pignons. C’est pour ça que nos dérailleurs actuels ont des chapes proéminentes et qu’elles se déplient de manières plus ou moins habiles pour compenser d’une vitesse à l’autre, au risque de s’exposer davantage… Mettre tout ça dans une boite sans plus d’efforts de conception serait forcément encombrant !
C’est là que le brevet de boîte de vitesses Shimano est habile. Et pour saisir, il faut lire entre les lignes de son fonctionnement…
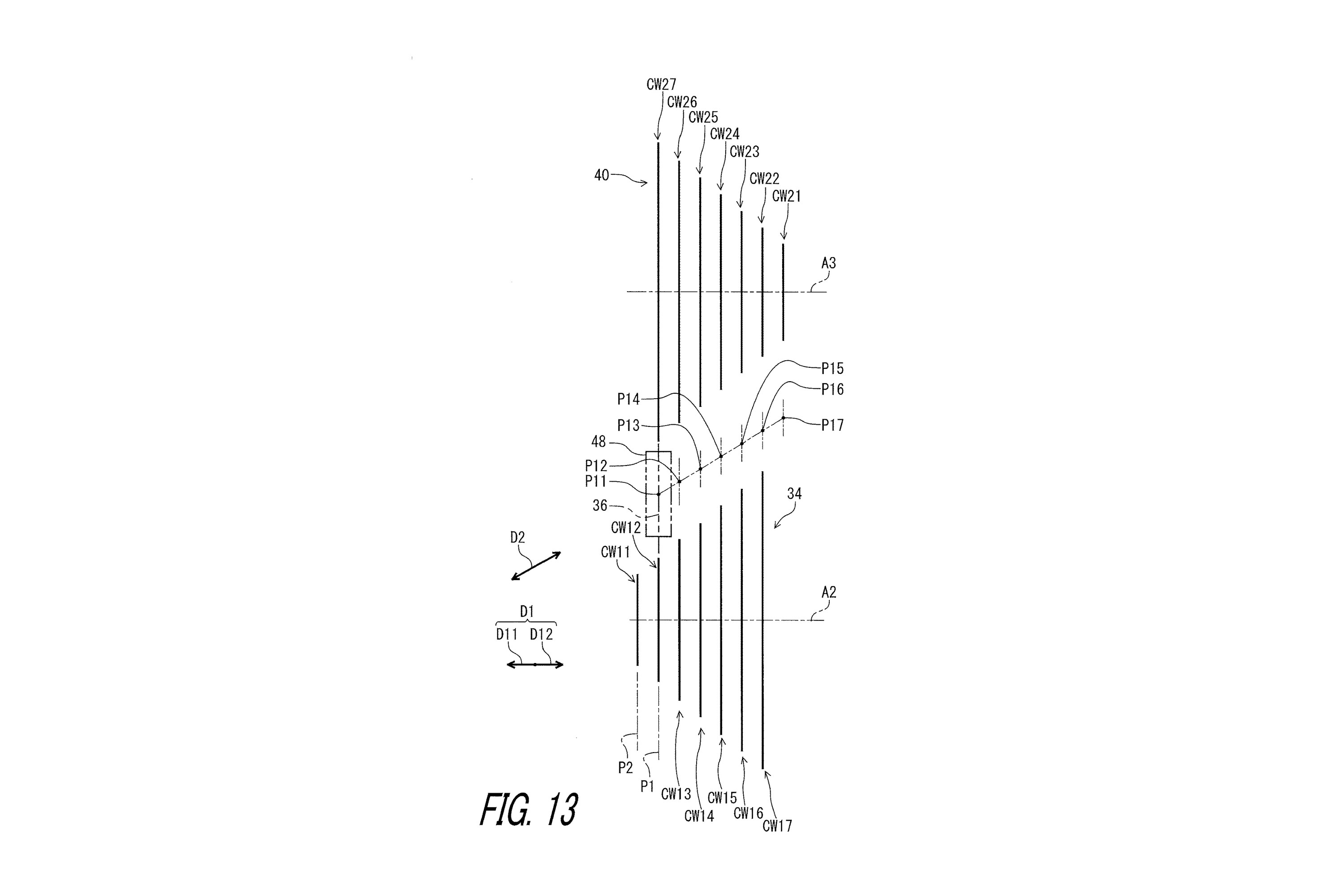
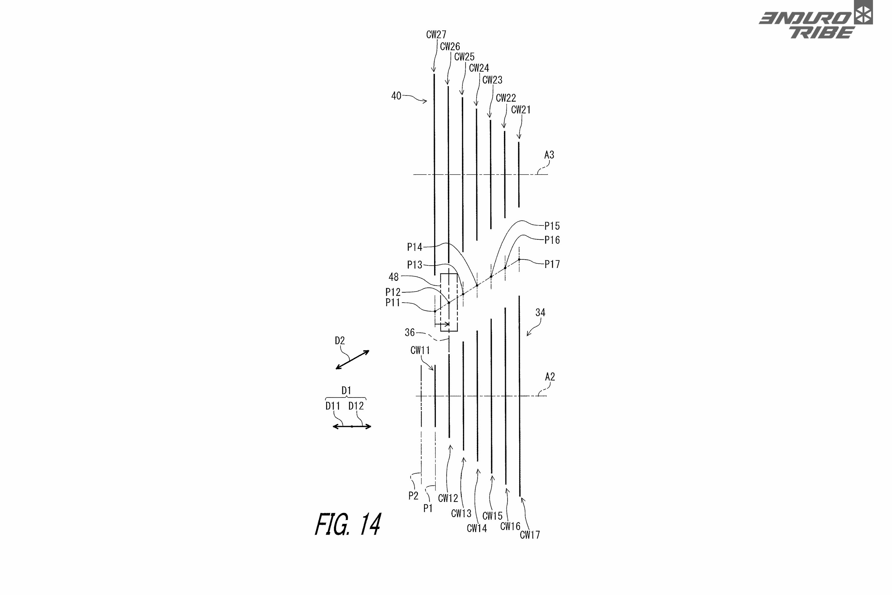
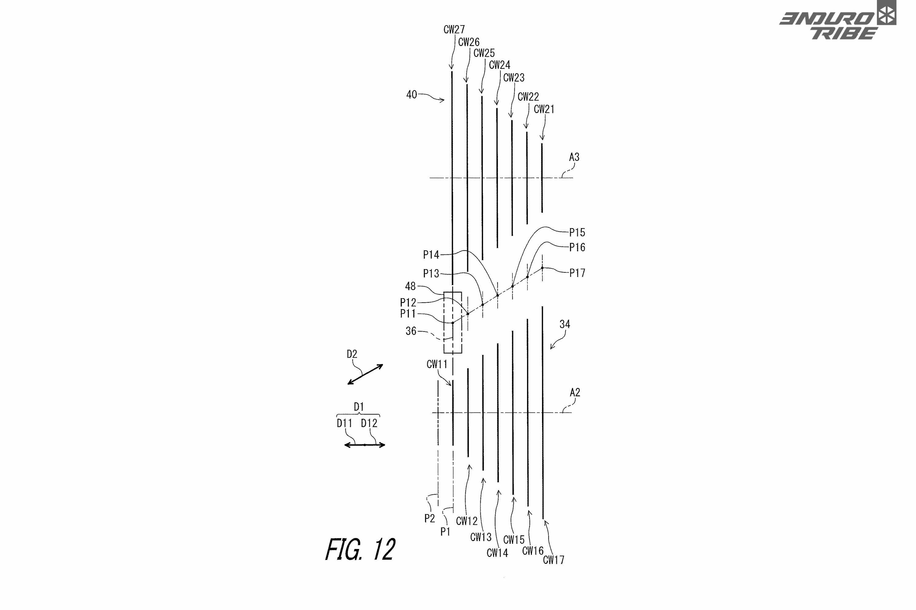
En matière de miniaturisation, ce concept est doublement habile. En premier lieu, parce qu’il n’utilise que 7 pignons pour proposer 13 rapports… Intéressant certes, mais les plus perspicaces d’entre nous dirons qu’on aurait pu faire 14 rapports en économisant le poids d’une cassette, et en utilisant deux pignons d’entrée (comme 2 plateaux) par exemple…
Mais c’est en lisant entre les lignes du tableau que l’ingéniosité du concept se trouve : en procédant de la sorte, la chaîne qui relie les deux cassettes se trouve toujours sur un ensemble de pignon qui compte à minima 58 dents, et à maxima 62 dents. Seulement 4 maillons de chaîne à rattraper en tout et pour tout, là où une transmission Eagle doit en compenser 42 pour passer d’un extrême à l’autre ! 4 maillons à compenser : c’est plus facile, et plus compact, à caser dans une petite boite…
Tout ça, c’est bien beau…
Ingénieux, bien pensé, solutionnant certaines des problématiques techniques auxquelles le concept de boîte de vitesses pouvait se heurter ces dernières années… Tout ça c’est bien beau, mais est-ce que ça sonne pour autant le glas du dérailleur arrière ?! En l’état, il est encore un peu tôt pour s’avancer, mais différents éléments permettent de s’en faire une meilleure idée.
Tout d’abord, l’état d’avancement du projet, et les intentions de la marque, que l’on ne connait pas au moment d’écrire ces lignes. Ceux qui ont l’habitude de voir passer des brevets peuvent déceler certaines indications dans ce document : on est loin de simples schémas conceptuels et abstraits. Il y a eu modélisation, et on se doute que les éléments volontairement cachés (guide chaîne et éléments de commande) aient été définis plus précisément.
« Les Nippons ont-ils déjà tout prévu ?! »
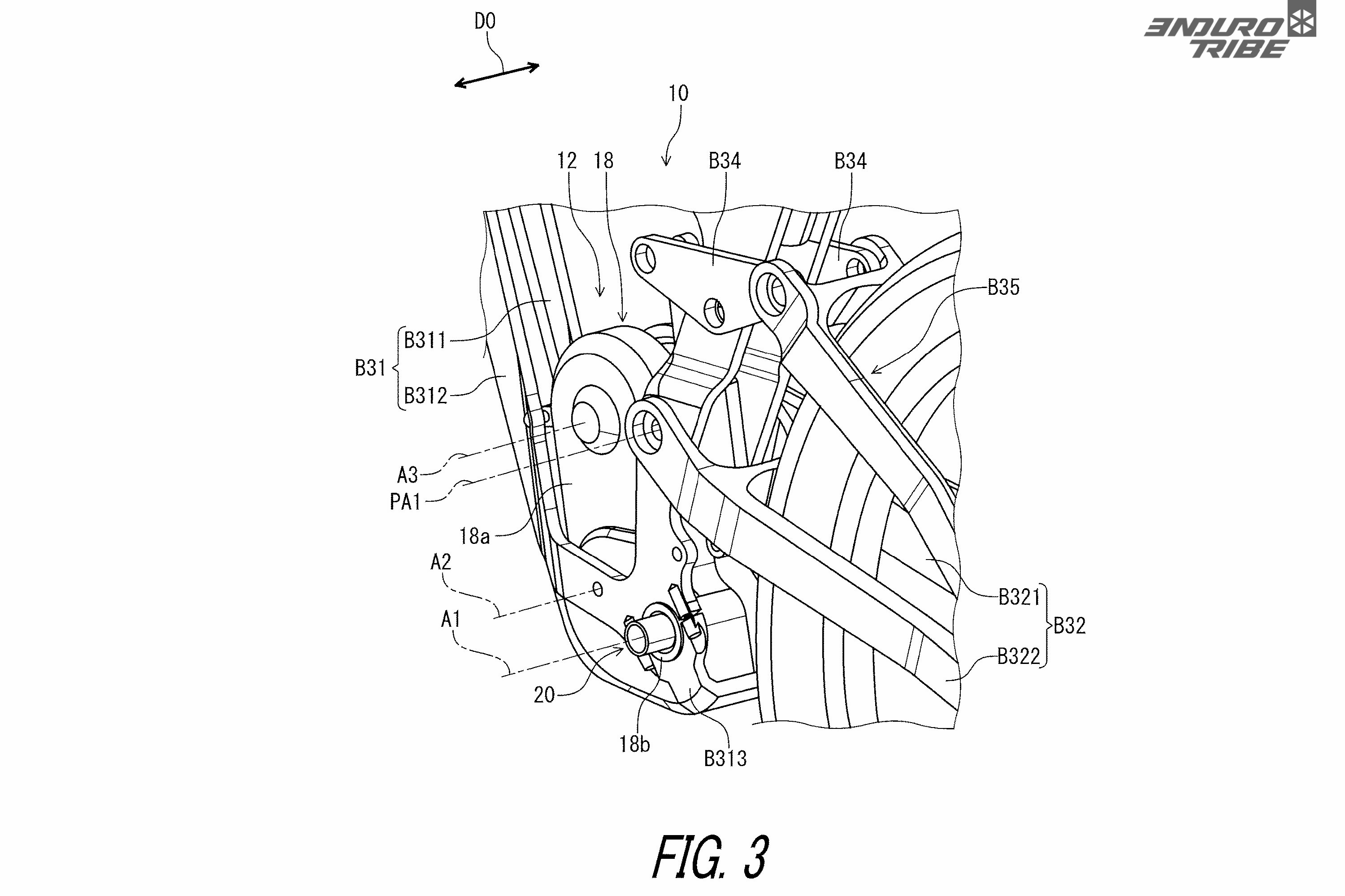
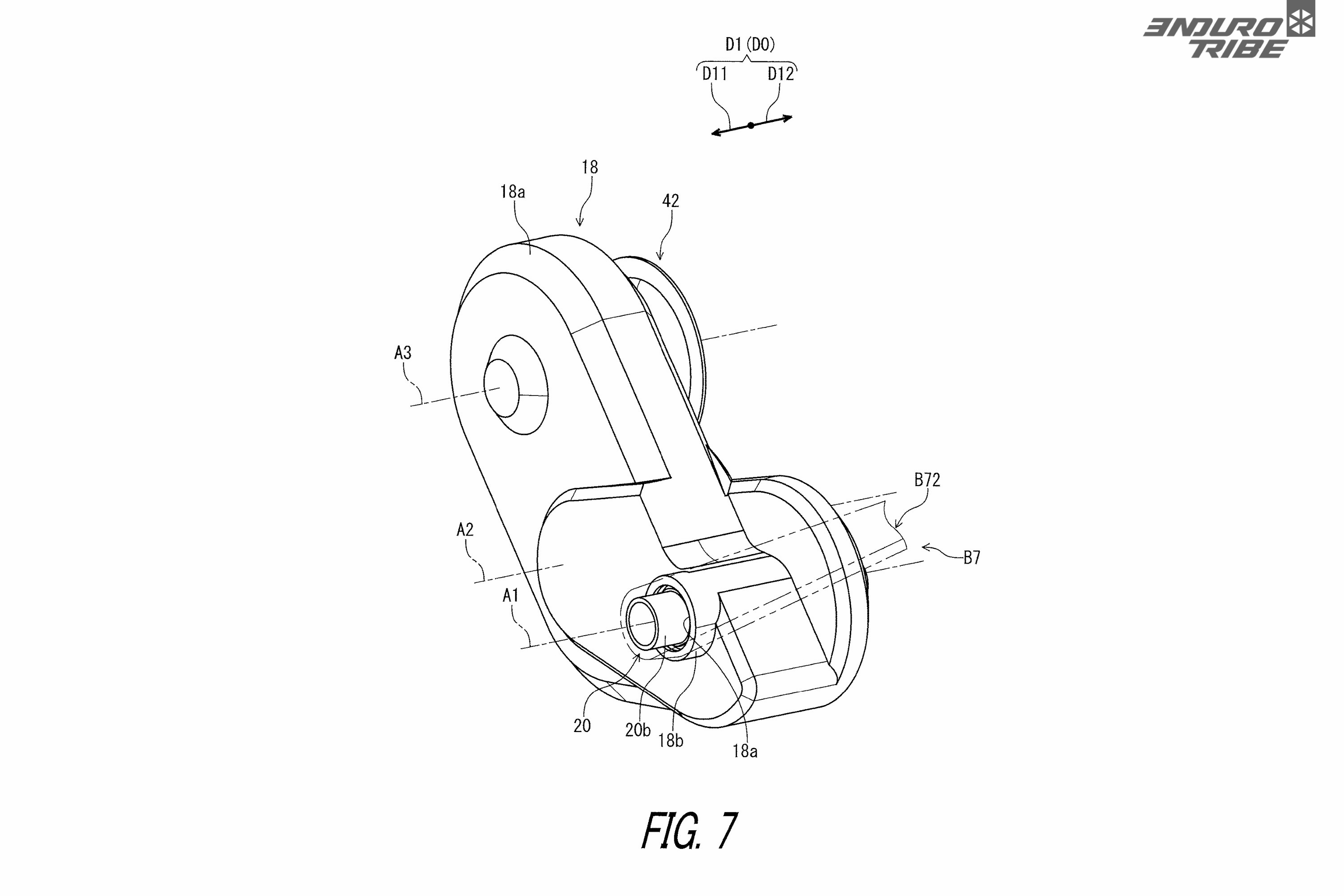
Ensuite, le travail de design et d’intégration du carter dans le cadre qui sert de support d’illustration. Nul doute qu’il s’agisse d’un cadre aux lignes, à la géométrie et à la cinématique moderne. Un travail qui démontre une volonté de prouver la viabilité du projet à l’industrie et aux possibles partenaires intéressé par le concept.
Alors, va-t-on bientôt voir des boîtes de vitesses Shimano greffées sur les vélos actuels ?! Le texte du brevet dit que le carter peut être fixé au cadre via une interface – comme les moteurs de VTTAE dernièrement – ou faire directement partie du cadre. Les Nippons ont-ils déjà tout prévu ?!
La suite ?!
Peut-être, mais il y a forcément du travail côté cadre désormais. On le démontre à longueur d’essai, et ceux d’entre nous qui s’attellent à le saisir sur le terrain en sont comme nous convaincus : pour l’heure, le caractère d’un vélo tient – pas seulement, mais en bonne partie – à sa cinématique de suspension… Et notamment de toute l’interaction qu’il peut y avoir avec la transmission (!) en matière de Kick-back et d’Anti-squat.
Autrement dit, même si les visuels du concept de boîte de vitesses Shimano démontrent qu’une réflexion a été menée à ce sujet, greffer une telle boîte de vitesses nécessite à minima que chaque marque maîtrise ce qui fait son identité, et travaille à conserver/peaufiner/faire évoluer ces paramètres pour qu’ils se marient avec une boîte de vitesses dont le pignon de sortie n’est plus au même endroit que les plateaux actuels.
Pour aller en accord avec cette approche, deux derniers visuels de ce concept de boîte de vitesses Shimano tendent à démontrer que la problématique ait fait partie du cahier des charges du projet…
Qu’en penser ?!
Visiblement encore à l’état de projet en développement, d’autres questions demanderont encore à trouver réponses pour que la logique de marché fasse son oeuvre. La boîte est prévue pour baigner dans l’huile. Il est possible qu’à l’image d’une transmission HXR, elle tourne en permanence tant que la roue arrière est en rotation, même sans coup de pédale de la part du pilote. Quid de son poids, du rendement et de l’inertie de cet ensemble ?! Quid également du prix, de l’entretien et de la facilité générale de manipulation vis-à-vis des transmissions actuelles ?!
Jusqu’ici, les boîtes de vitesses ont toujours eu pour elles quelques bons arguments, mais ils n’ont jamais été suffisants pour briser l’hégémonie de l’ancestral dérailleur arrière. Le recentrage des masses autour du centre de gravité du vélo, plutôt que d’avoir une cassette (!) et un dérailleur qui « plombent » l’arrière du vélo. La protection et l’intégration visuelle des éléments de transmission plutôt que de casser des chapes, des pattes, des chaînes et passer son temps à tout re-régler… Le travail toujours en ligne des chanes, plutôt que certains croisement parfois malheureux pour la durée de vie…
Ingénieux, ambitieux, le concept de boîte de vitesses Shimano reste pour l’heure un concept. Et même si d’un point de vue technique, l’acte est beau, il lui faut désormais passer l’épreuve de la mise sur le marché, et des stratégies marketing qui doivent l’installer durablement. Une autre affaire… Cependant, si ce concept venait à se généraliser, il constituerait une nouvelle grosse évolution technologique. Une de celles à classer parmi l’apparition de l’indexation, des freins à disques, des suspensions ou du carbone… Bref, le dérailleur arrière, et la transmission externe que l’on connait, tels papy et mamie, n’ont pas fini de faire de la résistance… Mais pour combien de temps ?! On en parle en commentaires…


















